新华通讯社主管

首页 >> 正文

因子公司合同纠纷被“限高” 零跑汽车董事长朱江明称已解除
2025-09-28 记者 郭新志 实习记者 李子莘 来源:经济参考网

因全资子公司合同纠纷,承担连带清偿责任的浙江零跑科技股份有限公司(证券简称“零跑汽车”,09863.HK)及公司法定代表人朱江明被广州法院采取限制消费措施。对此,9月28日,零跑汽车董事长朱江明通过社交媒体回应称,3天的“限高”于当日解除。截至记者发稿,天眼查数据尚未显示“限高令”解除信息。

这是零跑汽车首次被“限高”。天眼查数据显示,此次限制消费令申请人为“广州首汽汽车服务有限公司”(简称“广州首汽”),立案日期为2025年6月17日,发布日期为2025年9月25日,案号为(2025)粤0111执13502号,执行法院为“广州市白云区人民法院”。

广州首汽成立于2011年4月19日,注册资本300万元人民币,是一家以从事租赁业为主的企业,首汽租赁有限公司(简称“首汽租赁”)持有其100%股权。首汽租赁第一大股东为北京首汽(集团)股份有限公司,后者持有其69.731%股权。

天眼查显示,由于零跑汽车全资子公司凌跑汽车商贸有限公司(简称“凌跑商贸”)与广州首汽存在合同纠纷,因零跑汽车对凌跑商贸的上述债务承担连带清偿责任,且零跑汽车未按执行通知书指定的期间履行生效法律文书确定的给付义务,被广州市白云区人民法院依照《中华人民共和国民事诉讼法》第二百六十六条和《最高人民法院关于限制被执行人高消费及有关消费的若干规定》第一条、第三条的规定,对其采取限制消费措施,限制其公司及公司法定代表人朱江明不得实施以下高消费及非生活和工作必需的消费行为。

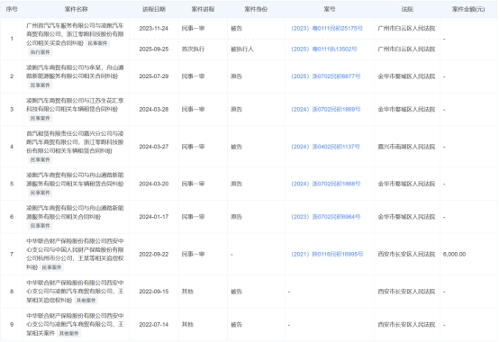
凌跑商贸成立于2020年7月23日,注册资本5000万元,注册地点为中国金华市,员工人数为0,零跑汽车持有其100%股权。天眼查显示,凌跑商贸共有12条法律诉讼记录,其中以“被告身份”的司法案件共有5宗。33.33%的案件案由为“车辆租赁合同纠纷”。零跑汽车2024年度报告显示,凌跑商贸主要业务是在中国销售电动汽车和提供售后服务。

图:凌跑商贸部分司法案件   资料来源:天眼查(截至2025年9月28日)

9月28日,朱江明通过其社交媒体表示:“3天的‘限高’今天总算解除了,这次风波也暴露了我们团队的一些不足,能力还需要进一步提升,这次事件也更加坚定了我对零跑的信心!不经历风雨,不能见彩虹,经营企业真的不容易,需要社会各界更多的督促和支持,感谢领导和朋友们大家的关心!谢谢大家!”

 

凡标注来源为“经济参考报”或“经济参考网”的所有文字、图片、音视频稿件,及电子杂志等数字媒体产品,版权均属《经济参考报》社有限责任公司,未经书面授权,不得以任何形式刊载、播放。获取授权

《经济参考报》社有限责任公司版权所有 本站所有新闻内容未经协议授权,禁止转载使用

新闻线索提供热线:010-63074375 63072334 报社地址:北京市宣武门西大街57号

JJCKB.CN 京ICP备2024066810号-1