日前,浙江德馨食品科技股份有限公司(简称“德馨食品”)更新了深交所主板IPO申报材料,公司此次IPO计划发行股数不超过1682.30万股,计划募集资金总额为9亿元,投建年产3.8万吨饮品配料生产基地、饮品配料和烘焙产品生产线、植物基饮料生产线、研发中心建设等项目以及补充流动资金。
《经济参考报》记者注意到,德馨食品声称公司具有技术与研发、菜单(配方)方案设计、主辅料一站式供应服务等优势,截至2022年12月31日,公司拥有专利51项,其中实用新型专利50项,发明专利仅有1项,且该发明专利是2020年1月由自然人狄某某“授予”,且授予价格不明。此外,公司独董任职资格也存在争议。
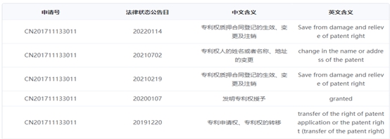
唯一一项发明专利为灌装设备专利
德馨食品致力于食品饮品的创新方案研发设计、生产和销售,运用现代食品科学技术,实现食品饮品主辅配料的标准化、集约化和智能化生产;为餐饮连锁企业和食品工业企业提供菜单(配方)设计方案、主辅配料一站式供应服务。目前,公司聚焦于现制饮品配料的研发、生产和销售,主要产品包括饮品浓浆、风味糖浆、饮品小料等。
招股书显示,该公司是浙江省科学技术厅、浙江省财政厅、国家税务总局浙江省税务局联合认定的高新技术企业,建有浙江省高新技术企业研究开发中心等高规格、高水平的技术研发平台。
申报材料显示,截至2022年12月31日,公司拥有专利51项,其中发明专利1项,50项实用新型专利技术。作为高新技术企业,公司仅1项为发明专利,即一种饮料生产灌装设备(专利号ZL201711133011.7)。
国家知识产权局网站显示,上述发明专利最初申请人和发明人为狄某某,2020年1月,该发明专利权授予德馨食品。狄某某通信地址显示为长沙学院,该学院创建于1970年,2004年由原长沙大学(专科)升格为全日制公办本科院校,实行“省市共建共管、以市为主管理”体制。
国家知识产权局网站显示,2020年1月,狄某某将发明专利权转移至德馨食品。
德馨食品未披露公司该专利授予的背景、交易价格以及该发明专利对公司主业的影响。记者近日就此发函询问,截至发稿,德馨食品未予置评。

图:德馨食品唯一一项发明专利相关情况 资料来源:国家知识产权局网站
深交所亦对德馨食品的技术先进性进行了问询,要求公司量化说明其技术先进性。但德馨食品称,公司主要从事现制饮品配料的研发、生产及销售,公司的核心技术主要体现在产品配方、质量控制及生产工艺等三个方面,最终体现为产品的新品开发质量及效率、风味、口感、视觉效果、货架期及质量稳定性等关键特征。前述关键特征难以通过个别技术指标进行量化衡量比较。
独董任职资格存疑
如果说从发明专利的角度难以窥见德馨食品技术先进性的话,公司引以为傲的另一项关键生产技术同样疑点重重。
招股书显示,中国食品科学技术学会出具的《科学技术成果评价报告》(中食(评价)字[2023]第02号)中,孙宝国院士、庞国芳院士等专家委员会认为,公司的“饮品配料定制化生产关键技术研究及应用”项目整体技术达到国际先进水平;该项目主要研究开发了工业化糖浆精滤技术、黄砂糖糖浆控温熬制技术、NFC茶汤高效连续萃取技术及乳液双重均质稳定化技术等技术;其中,NFC茶汤高效连续萃取技术、乳液双重均质稳定化技术达到国际领先水平。
值得注意的是,公司独立董事陈坚任中国食品科学技术学会副理事长。不仅如此,公司独立董事更是与德馨食品有千丝万缕的关系。
独立性是独立董事的显着特征和最基本任职要求。但此前几年间不少上市公司存在独立董事素质良莠不齐、“人情董事”独立董事的独立性存疑等情况。针对上述情况,证监会依据国务院办公厅《关于上市公司独立董事制度改革意见》,在前期征求意见基础上,于2023年8月出台《上市公司独立董事管理办法》(以下简称《办法》)。《办法》明确,独立董事必须保持独立性。
德馨食品独立董事陈坚的独立性仍存在不少疑点。陈坚不仅与公司创始人存在关联还任公司的顾问等。招股书显示,现任独立董事陈坚,1962年5月出生,系中国工程院院士,自1991年1月起任教于江南大学,2001年7月至2005年6月担任江南大学副校长,2005年7月至2020年4月担任江南大学校长,2020年5月起担任江南大学学术委员会主任。现任公司独立董事,江南大学学术委员会主任。

根据招股书显示,独立董事陈坚于2021年3月28日起担任德馨食品独立董事时,当时不满59周岁;另有工商登记显示,陈坚不晚于2021年7月担任上海泓济环保科技股份有限公司独立董事,彼时59周岁,不满60周岁退休年龄。
根据中组部引发的《关于进一步规范党政领导干部在企业兼职(任职)问题的意见》规定,现职党政领导干部不得在企业兼职;退出现职、未办理退休手续的党政领导干部原则上不得在企业兼职。
“根据相关规定,1962年5月出生的陈坚,在2022年5月之前,应属退出现职而未办理退休手续的党政领导干部。这种情况不应该在企业任职。”一位不愿具名的某省省委组织部干部监督处相关人士称。
如今,陈坚仍担任江南大学学术委员会主任;教育部科技委农林学部常务副主任;中国工程院环境与轻纺工程学部第五届副主任等职务。
对于陈坚本身的党政干部身份担任独董存疑之外,陈坚还与德馨食品存在千丝万缕的联系。德馨食品董事长林志勇和总经理史文超均毕业于江南大学,二人分别为食品学院90级和92级校友,并与江南大学保持有业务往来。林志勇兼任江南大学食品学院产业特聘教授。同时,德馨食品还与江南大学共建试验基地。
德馨食品在2020年11月份当选江南大学食品学院董事会副董事长单位、在2023年还获得“江南大学就业最佳合作伙伴”铭牌等。
2021年7月,德馨食品组织的品牌战略研讨会,陈坚以专家的身份出席了此次会议。林志勇和史文超在会上表示,将持续注重食品科学与技术的运用,特别是与江南大学陈坚院士在未来食品的研究,转化为符合德馨食品的未来食品战略。
针对独立董事的独立性等问题,记者致函德馨食品,截至发稿未获回复。



